1tentukan salah satu akar dari persamaan x3 2x2 3x 6 0 dengan metode. Metode newton raphson adalah sebuah cara untuk menemukan akar sebuah fungsi misalkan fx dengan melakukan pendekatan pada suatu titik.
                        Contoh Penyelesaian Aliran Daya Listrik Dengan Metode Newton
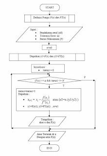
Contoh soal metode newton raphson. Semakin dekat titik awal yang kita pilih dengan akar sebenarnya maka semakin cepat konvergen ke akarnya. F3 43 3 153 2 173 6 18. Ambil titik awalnya 3. Metode ini dianggap lebih mudah dari metode bagi dua bisection method karena metode ini menggunakan pendekatan satu titik sebagai titik awal. E x cos2x 0 x0 0176281 fx x. Contoh soal penyelesaian metode newton raphson.
E x cos2x f1x 1 x e x 2 sin 2x fx0 1086282 f1x0 0000015 x. Untuk menghindari titik titik pendekatan yang berada jauh sebaiknya pemakaian metode newton raphson ini didahului oleh metode tabel sehingga dapat di jamin konvergensi dari metode newton raphson. F3 123 2 30. Dari grafik perpotongan kedua kurva gx dan hx ternyata ada tiga titik perpotongannya yaitu titik a titik b dan titik c. Contoh soal metode newton raphson. Contoh soal dan pembahasan metode newton raphson.
Berikut soal metode newton raphson. Tentukan akar persamaan dari 4x 3 15x 2 17x 60. Metode newton raphson adalah metode pencarian akar suatu fungsi fx dengan pendekatan satu titik dimana fungsi fx mempunyai turunan. Contoh soal x. Contoh format nama dan kirim pulsa 500000 rp ribu ke nomor 082348154218 sebagai biaya ritual untuk di belikan peralatan sesajen seperti. Metode newton raphson juga dikenal dengan metode newton.
Semakin dekat titik awal yang kita pilih dengan akar sebenarnya maka semakin cepat konvergen ke akarnya. Dalam analisis numerik metode newton juga dikenal sebagai metode newton raphson yang mendapat nama dari isaac newton dan joseph raphson merupakan metode yang paling dikenal untuk mencari hampiran terhadap akar fungsi riil. Fx 4x 3 15x 2 17x 6. Metode newton raphson adalah metode pencarian akar suatu fungsi fx dengan pendekatan satu titik dimana fungsi fx mempunyai turunan. Metode ini menggunakan pendekatan satu titik sebagai titik awal. Tentukan akar dari persamaan 4x 3 15x 2 17x 6 0 menggunakan metode newton raphson.
Contoh soal metode newton raphson martha yunanda contoh soal. Metode newton sering konvergen dengan cepat terutama bila iterasi dimulai cukup dekat dengan akar yang diinginkan. Untuk perhitungan metode newton raphson caranya sama dengan contoh soal 1 dan soal 2 di atas tapi disini langsung kami sajikan dalam bentuk tabelnya saja. Fx 12x 2 30x 17. Video pembelajaran ini dipersembahkan oleh teman saya risky amelia. Hasil perhitungan di atas diperoleh dengan cara.
Artinya titik potong yang kita peroleh dari setiap percobaan bisa berbeda tergantung nilai awal.














